金物工法で住宅を設計する際、柱の接合部はパイプを使うことが一般的かと思います。しかし、引抜力が大きくなるとパイプでは耐力が不足するため、別の接合方法を考える必要があります。
柱脚では、BOX型の柱脚金物が選択肢の一つになりますが、柱頭用の金物はあまりないため、困った経験がある方が多いのではないでしょうか。
今回のコラムでは、金物工法で柱頭に使える金物について比較をしてみました。
❶はじめに
近年、高倍率の壁や階高の高い建物を見かける機会が少しずつ増えてきました。そのような場合、柱に生じる引張力も大きくなるので、接合部の仕様が今まで通りには納まらないこともあると思います。
状況に応じて、柱接合用の金物を使い分けられるように、既製品の金物を形状別にご紹介し、それぞれの比較を行います。
❷金物工法用の柱接合金物について
今回の説明内容はBXカネシンの既製品の標準的な使い方を想定した内容となります。
他社製品や使い方次第では、コラムに記載の内容と異なる場合がございますので、適宜ご判断ください。
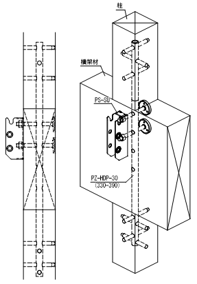
❷-1 パイプ型接合金物
| 使用箇所 | 横架材と柱、柱と柱を接合する用の金物 |
| 概要 | 木材にパイプを挿入し、パイプと木材をドリフトピンで接合する金物。 梁受金物のボルトと干渉を防ぐため、ドリフトピンの代わりにボルトを用いることもある。 木の加工錐の径によってパイプの径が決められているので、高耐力にすることが難しい。 |
| 製品例 | ロールパイプ, PZホールダウンパイプ |
| 引張耐力 | 10kN~30kN |


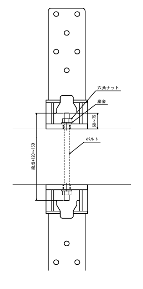
❷-2 T型接合金物
| 使用箇所 | 横架材と柱を接合する用の金物 |
| 概要 | ボルトを用いて横架材に柱頭(柱脚)受金物を取付け、柱側はドリフトピンを用いて接合する金物。 2本のボルトで取付けるため、中間に梁受金物のボルトを通すことが可能。 金物と木材の干渉を防ぐため、柱側にボルト避けの孔加工や溶接避けの面取り加工をする必要がある。 ボルトのせん断力を補強するために専用パイプを使用し、ドリフトピンで位置を固定している。 |
| 製品例 | 高耐力柱頭金物50 |
| 引張耐力 | 50kN |


❷-3 ボックス型接合金物
| 使用箇所 | 横架材と柱を接合する用の金物 |
| 概要 | ボルトを用いて横架材に柱頭(柱脚)受金物を取付け、柱側はドリフトピンを用いて接合する金物。 梁受金物のボルト配置に応じて、取付用のボルト本数を1本または2本に選択することが可能。 金物と木材の干渉を防ぐため、溶接部やボルト除け部分をボックス内に設けている。 |
| 製品例 | MP柱脚システム* |
| 引張耐力 | 80kN~ |


*基礎と緊結する既製品の特注仕様となります。詳細は製品マニュアルをご確認ください。
❸金物の比較
形状別に特徴を表にしました。

一言に柱頭(柱脚金物)といっても、形状によって異なる点が多いです。特殊な納まりとする場合は、耐力だけでなく他部材との関係まで考慮して設計する必要があります。
木材の加工に関しても、ボルト孔が長くなる場合やスリットが深くなる場合、面取り加工があるなどの場合では注意が必要で、工場の設備によっては、機械加工ができない可能性がございます。あらかじめ、プレカットなどに確認しておいた方が、スムーズに建て方が進むかと思います。
❹おわりに
既製品を上手く使うことは、設計者の腕の見せ所だと思いますが、どうしても耐力が足りない場合や納まらない場合は製作金物となることもあると思います。その際、今回のコラムに記載した既製品の特徴が参考になれば幸いです。
今回ご紹介した金物以外でも、既製品の金物で分からないことや製作金物のお困りごとなど何でもご相談を承っておりますので、ご気軽にお問合せください。
コラムの一覧に戻る
このコラムを読んで、設計のヒントになりそうと思いましたら、↓ボタンのクリックをお願いします。